Product Summary
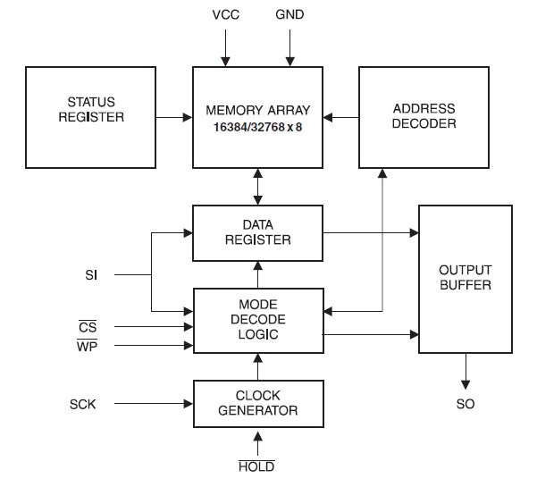
The AT25256B-SSHL-T is a SPI Serial EEPROM. It provides 131,072/262,144 bits of serial electrically-erasable programmable read only memory (EEPROM) organized as 16,384/32,768 words of 8 bits each. The AT25256B-SSHL-T is optimized for use in many industrial and commercial applications where low-power and low-voltage operation are essential. The device is available in space saving 8-lead SOIC, 8-lead TSSOP, 8-ball VFBGA and 8-lead UDFN packages. In addition, the entire family is available in 1.8V (1.8V to 5.5V). The AT25256B-SSHL-T is enabled through the Chip Select pin (CS) and accessed via a 3-wire interface consisting of Serial Data Input (SI), Serial Data Output (SO), and Serial Clock (SCK).
Parametrics
AT25256B-SSHL-T absolute maximum ratings: (1)Operating Temperature: –55℃ to +125℃; (2)Storage Temperature: –65℃ to + 150℃; (3)Voltage on Any Pin with Respect to Ground: –1.0 V +7.0V; (4)Maximum Operating Voltage: 6.25V; (5)DC Output Current: 5.0 mA.
Features
AT25256B-SSHL-T features: (1)Serial Peripheral Interface (SPI) Compatible; (2)Supports SPI Modes 0 (0,0) and 3 (1,1); (3)Data Sheet Describes Mode 0 Operation; (4)Low-voltage and Standard-voltage Operation: 1.8 (VCC = 1.8V to 5.5V); (5)20 MHz Clock Rate (5V); (6)64-byte Page Mode and Byte Write Operation; (7)Block Write Protection: Protect 1/4, 1/2, or Entire Array; (8)Write Protect (WP) Pin and Write Disable Instructions for Both Hardware and Software Data Protection; (9)Self-timed Write Cycle (5 ms Max); (10)High-reliability: Endurance: 1 Million Write Cycle Data Retention: >100 Years; (11)Green (Pb/Halide-free/RoHS Compliant) Packaging Options; (12)Die Sales: Wafer Form, Waffle Pack, and Bumped Die.
Diagrams

| Image | Part No | Mfg | Description |  | Pricing (USD) | Quantity | ||||||||||||
|---|---|---|---|---|---|---|---|---|---|---|---|---|---|---|---|---|---|---|
|  |  AT25256B-SSHL-T |  Atmel |  EEPROM 256Kbit; SPI Bus High Spd; Mode 0 & 3 |  Data Sheet |  
 |  | ||||||||||||
| Image | Part No | Mfg | Description |  | Pricing (USD) | Quantity | ||||||||||||
|  |  AT250 |  Protek |  RF Test Equipment Antenna for FC250 |  Data Sheet |  Negotiable |  | ||||||||||||
|  |  AT25010 |  Other |  |  Data Sheet |  Negotiable |  | ||||||||||||
|  |  AT25010-10PC |  Atmel |  IC SEEPROM 1K 8DIP |  Data Sheet |  Negotiable |  | ||||||||||||
|  |  AT25010-10PC-2.7 |  Atmel |  IC SEEPROM 1K 2.7V 8DIP |  Data Sheet |  Negotiable |  | ||||||||||||
|  |  AT25010-10PI |  Atmel |  IC SEEPROM 1K 8DIP |  Data Sheet |  Negotiable |  | ||||||||||||
|  |  AT25010-10PI-2.7 |  |  IC EEPROM 1KBIT 2.1MHZ 8DIP |  Data Sheet |  Negotiable |  | ||||||||||||
 (China (Mainland))
 (China (Mainland)) 
                         
                        
 
                                    




