Product Summary
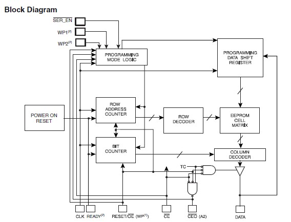
The AT17LV512A-10PU is an FPGA Configuration EEPROM Memory. It provides an easy-to-use, cost-effective configuration memory for Field Programmable Gate Arrays. The AT17LV512A-10PU is packaged in the 8-lead LAP, 8-lead PDIP, 8-lead SOIC, 20-lead PLCC, 20-lead SOIC, 44-lead PLCC and 44-lead TQFP. The AT17LV512A-10PU uses a simple serial-access procedure to configure one
or more FPGA devices. The user can select the polarity of the reset function by programming four EEPROM bytes. The device also supports a write-protection mechanism within its programming mode.
Parametrics
AT17LV512A-10PU absolute maximum ratings: (1)Operating Temperature: -40℃ to +85℃; (2)Storage Temperature: -65℃ to +150℃; (3)Voltage on Any Pin with Respect to Ground: -0.1V to VCC +0.5V; (4)Supply Voltage (VCC): -0.5V to +7.0V; (5)Maximum Soldering Temp. (10 sec. @ 1/16 in.): 260℃; (6)ESD (RZAP = 1.5K, CZAP = 100 pF): 2000V.
Features
AT17LV512A-10PU features: (1)Supports both 3.3V and 5.0V Operating Voltage Applications; (2)In-System Programmable (ISP) via Two-Wire Bus; (3)Simple Interface to SRAM FPGAs; (4)Compatible with Atmel AT6000, AT40K and AT94K Devices, Altera FLEX APEX Devices, Lucent ORCA, Xilinx XC3000, XC4000, XC5200, Spartan, Virtex FPGAs; (5)Cascadable Read-back to Support Additional Configurations or Higher-density Arrays; (6)Very Low-power CMOS EEPROM Process; (7)Programmable Reset Polarity; (8)Available in 6 mm x 6 mm x 1 mm 8-lead LAP (Pin-compatible with 8-lead SOIC/VOIC Packages), 8-lead PDIP, 8-lead SOIC, 20-lead PLCC, 20-lead SOIC, 44-lead PLCC and 44-lead TQFP Packages; (9)Emulation of Atmel AT24CXXX Serial EEPROMs; (10)Low-power Standby Mode.
Diagrams

| Image | Part No | Mfg | Description | ![]() |
Pricing (USD) |
Quantity | ||||||||
|---|---|---|---|---|---|---|---|---|---|---|---|---|---|---|
![]() |
![]() AT17LV512A-10PU |
![]() Atmel |
![]() EEPROM 512K |
![]() Data Sheet |
![]()
|
|
||||||||
| Image | Part No | Mfg | Description | ![]() |
Pricing (USD) |
Quantity | ||||||||
![]() |
![]() AT1729 |
![]() Other |
![]() |
![]() Data Sheet |
![]() Negotiable |
|
||||||||
![]() |
![]() AT1741 |
![]() Other |
![]() |
![]() Data Sheet |
![]() Negotiable |
|
||||||||
![]() |
![]() AT1743 |
![]() Other |
![]() |
![]() Data Sheet |
![]() Negotiable |
|
||||||||
![]() |
![]() AT17C002-10CC |
![]() Atmel |
![]() EEPROM ASICS |
![]() Data Sheet |
![]() Negotiable |
|
||||||||
![]() |
![]() AT17C002-10CI |
![]() Atmel |
![]() IC SRL CONFIG EEPROM 2M 8LAP |
![]() Data Sheet |
![]() Negotiable |
|
||||||||
![]() |
![]() AT17C002A |
![]() Other |
![]() |
![]() Data Sheet |
![]() Negotiable |
|
||||||||
(China (Mainland))











